CLOUD
在 2022/9/15 12:46:38 进行点评我要回应
- 审稿时间:15天
- 我的职称:
- 我的学历:在读硕士
- 是否录用:拒稿
点评配图:
我的点评:9.5投稿,9.15退稿,囿于本刊栏目和版面有限,无法刊发该文,请您改投他刊,期待您下次赐稿。
小叶
在 2022/9/12 11:27:56 进行点评我要回应
- 审稿时间:15天
- 我的职称:
- 我的学历:
- 是否录用:拒稿
我的点评:9月2日在线投稿,9月12日收到退稿邮件,内容如下:按专家审稿意见,现对您的来稿予以退稿处理,退稿原因:( 3 ) 1、囿于本刊栏目和版面有限,无法刊发该文,请您改投他刊,期待您下次赐稿。 2、未通过学术不端系统检测(文字复制比为 %)。 3、不符合组稿方向。 4、其他。( ) 邮件为系统发出,请不要直接回复,有问题请联系编辑部(0791-83828011 nljjglxb@sina.com)。 感谢您对本刊的支持! 《农林经济管理学报》编辑部 Tel:0791-83828011 E-mail:nljjglxb@sina.com Website:http://jxndsk.jxau.edu.cn 投稿系统:http://jnds.cbpt.cnki.net 地址:江西省南昌市昌北区志敏大道1101号江西农业大学期刊社
Hayo101
在 2022/7/24 15:45:41 进行点评我要回应
- 审稿时间:无回复
- 我的职称:
- 我的学历:
- 是否录用:拒稿
投稿主题:乡村旅游
我的点评:投稿九天拒稿,说是与组稿方向不符
百年苦易满
在 2022/7/16 16:42:36 进行点评我要回应
- 审稿时间:15天
- 我的职称:
- 我的学历:在读博士
- 是否录用:修改后录用
- 有无课题:国家级
- 有无回复:有自动回复
- 投稿难度:中等
- 发表排期:2个月
- 该刊可发:博士独作
投稿主题:乡村振兴
点评配图:
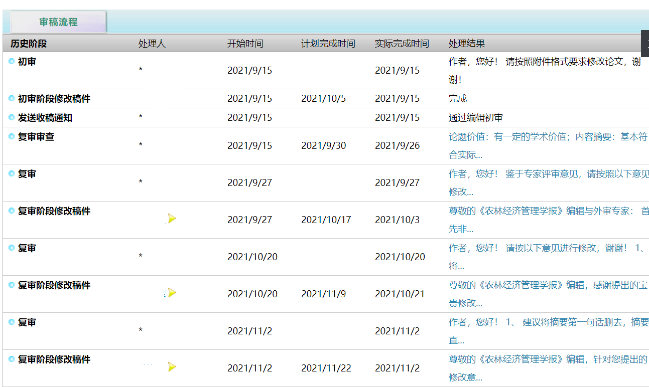
我的点评:一个月通知录用,再一个月上知网,真的是神速了。会要求国家级或教育部课题,初审和外审速度都很快。只送了一个外审,外审意见不错,就进入修改流程,基本上进入修改流程希望就非常大了。改到后期,编辑老师会电话沟通具体细节,告知录用并尽快安排刊发。是一次非常棒的投稿体验。
学术人
于 2022/7/17 14:32:21 回应:
请问外审给了及格并提出了5个问题 被录用的概率大吗
投稿小安
在 2022/5/27 10:43:47 进行点评我要回应
- 审稿时间:15天
- 我的职称:尚无
- 我的学历:在读博士
- 是否录用:尚无回复
- 有无回复:有自动回复
投稿主题:农村法治
我的点评:5月12日投稿,现在仍然是初审审查,没有变动,是不是要退稿的节奏
投稿小安
于 2022/5/30 16:38:08 回应:
一直是初审审查,突然被退稿了,原因是不符合组稿方向,继续努力吧
努力发C刊
在 2021/12/2 19:18:56 进行点评我要回应
- 审稿时间:2个月
- 我的职称:副教授
- 我的学历:
- 是否录用:修改后录用
投稿主题:农民创业
点评配图:
我的点评:审稿人意见中肯,如果刊物给了退修的机会,采稿的几率会大增。。另外,一定要记得按照刊物的格式规范修改好论文后再投稿,因为个人感觉初审就是审查论文格式是否规范、选题是否符合刊物要求。另外,退修意见很细,甚至精确到需要将论文中的数据分析变量英文名更换为中文。编辑部联系电话很容易打通,编辑老师态度友好。推荐大家投稿!
新用户2333
在 2021/9/13 10:31:22 进行点评我要回应
- 审稿时间:2个月
- 我的职称:
- 我的学历:在读博士
- 是否录用:修改后录用
- 发表排期:5个月
我的点评:审稿还是蛮快的,收稿后1个月内送外审,差不多3月投,5月确定录用。还是蛮快的,博士独作可以发,而且校对流程比较规范,忘记看邮件编辑也会打电话提醒尽快校对。
妮霸霸丶
在 2021/7/24 12:27:35 进行点评我要回应
- 审稿时间:15天
- 稿件字数:13000字
- 我的职称:
- 我的学历:在读博士
- 是否录用:拒稿
我的点评:投稿20天左右收到退稿通知:尊敬的作者,首先感谢您的赐稿,由于本刊栏目和版面有限,本刊暂无法安排您的稿件进入下一流程,为不耽误您宝贵时间,请您及时改投他刊,期待您下次赐稿。
大树从来不开花
在 2021/4/10 20:28:17 进行点评我要回应
- 审稿时间:2个月
- 我的职称:
- 我的学历:在读博士
- 是否录用:修改后录用
- 发表排期:3个月
投稿主题:三农
我的点评:非常规范的期刊了,身边被录用的同学至少3个了吧,符合三农问题的文章不妨一试。
奔赴山海的小纸羊
在 2021/2/20 14:48:22 进行点评我要回应
- 审稿时间:1个月
- 我的职称:
- 我的学历:
- 是否录用:直接录用
- 发表排期:4个月
投稿主题:三农
我的点评:核心+1,系专题组稿,效率高。