踏雪者
在 2025/7/16 22:08:52 进行点评我要回应
- 审稿时间:15天
- 我的职称:尚无
- 我的学历:在读硕士
- 是否录用:尚无回复
- 有无课题:校级
- 有无回复:有自动回复
- 投稿难度:中等
- 发表排期:尚无出版
- 该刊可发:硕一导二
投稿主题:经济法学
我的点评:投稿第二天就发短信说初审通过了,加了编辑,说需要终审等两个星期
No普刊守门员
在 2025/2/17 20:54:21 进行点评我要回应
- 审稿时间:1个月
- 我的职称:
- 我的学历:在读硕士
- 是否录用:拒稿
- 有无课题:省部级
- 有无回复:有自动回复
- 该刊可发:在读博士独作
我的点评:投稿该刊两次,均为导师(教授)一作,我(在读硕士)二作。该刊审稿极慢。官网写明审稿期两个月,第一次投稿两个月后未收到任何消息,便改投他刊,四个月后接到责编电话,说该文初审通过,但该文已在他刊发表,我只能撤稿。第二次投稿后一周便接到责编电话,问是否另投他刊,告知本文初审通过,需送主编终审。一个月后责编告知“本文拟在今年第一期发表,但我们要求一篇文章只有一名作者,能否只保留导师的名字?”,但广警不少本科生以二作身份在该刊发文。经电联后得知是主编要求删去我的名字,我再次撤稿。硕士二作慎投该刊,不歧视博士生。
C刊录录录
在 2025/2/10 15:43:11 进行点评我要回应
- 审稿时间:无回复
- 我的职称:
- 我的学历:
- 是否录用:
我的点评:很混账的刊物,硕士博士各投了一篇三年过去还是初审,一个普刊牛上天,点个退稿会死?误人子弟发誓以后不会投,后来听说有内部关系就很容易中,也难怪了自投从来不看
C刊司令
于 2025/2/10 16:17:54 回应:
还得是法治博览 法治与社会好发
读打选手
在 2024/10/30 8:24:30 进行点评我要回应
- 审稿时间:2个月
- 我的职称:
- 我的学历:在读博士
- 是否录用:直接录用
- 有无课题:省部级
- 投稿难度:较难
- 该刊可发:在读博士独作
投稿主题:行政处罚
我的点评:对于感兴趣的稿件,编辑会打电话询问有无被其他刊录用,要求删减字数,可以刊发2w字以内的稿件,拟录用需要主编同意后刊发。
一年到头忙论文
在 2024/9/19 11:48:59 进行点评我要回应
- 审稿时间:无回复
- 我的职称:副教授
- 我的学历:在读博士
- 是否录用:尚无回复
- 有无课题:无
投稿主题:法学
我的点评:投稿20天,一直处于初审状态,想着时间还短,再等等。结果一看上一篇文章投稿时间是2021年2月2日,至今还是初审状态,果断放弃
阿毛毛
于 2024/9/23 16:58:18 回应:
下面几个有国家级课题的,都中了啊,会不会是因为你没有课题
也许是吧,不过如果有国家级课题,应该会投个核心刊物
Derkampf
在 2024/9/3 11:38:02 进行点评我要回应
- 审稿时间:无回复
- 我的职称:其它
- 我的学历:硕士
- 是否录用:尚无回复
- 有无课题:省部级
- 有无回复:无自动回复
- 投稿难度:难
我的点评:6月底通过系统投稿,后针对该刊新型犯罪征稿再次发邮件投稿,截止今天为止,论文仍处于初审状态,邮件投稿处于未阅读状态,电话也无法接通。同时该刊作为知网的投稿系统竟然取消了撤稿选项。其他学友对该刊的评价是有道理的。
读打选手
于 2024/10/25 13:44:18 回应:
请问加了编辑说初审通过后,大概还需要等待多久?
回复楼上,我三个多月还是未通过初审的状态....该文章已被其他期刊录用
读打选手
于 2024/10/30 8:25:48 回应:
谢谢!能发出来就好,祝贺!
666
在 2024/5/31 9:12:57 进行点评我要回应
- 审稿时间:1个月
- 我的职称:讲师
- 我的学历:在读博士
- 是否录用:直接录用
- 有无课题:国家级
- 发表排期:3个月
- 该刊可发:在读博士独作
投稿主题:法学
我的点评:挺快的,四月份投稿,没几天加了编辑老师的微信,确定在第3期发表。
C刊录录录
在 2024/4/6 11:08:14 进行点评我要回应
- 审稿时间:至今1年+
- 我的职称:讲师
- 我的学历:在读博士
- 是否录用:尚无回复
- 有无课题:国家级
- 有无回复:逾期无回复
- 投稿难度:难
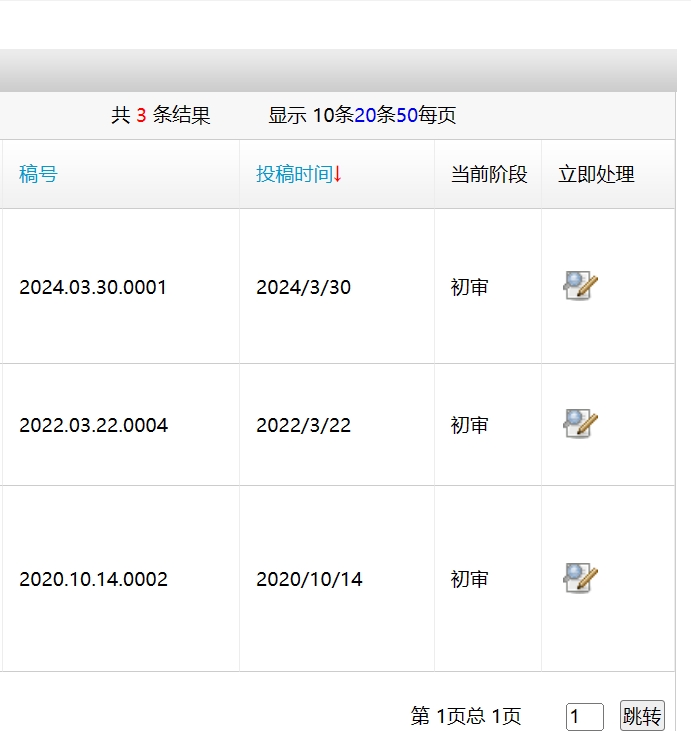
点评配图:
我的点评:从硕士到博士,三次投稿,审稿速度如图自己感受
博士发普刊有用吗?
漂移的达马斯卡
在 2024/4/2 10:11:21 进行点评我要回应
- 审稿时间:3个月
- 我的职称:
- 我的学历:在读博士
- 是否录用:修改后录用
- 有无课题:国家级
- 投稿难度:中等
- 发表排期:1个月
我的点评:11月底投稿,12月底加上编辑微信说是过了初审。2月初编辑发信息询问文章是否被其他期刊录用,3月底编辑发信息说文章确定录用,预计第二期(四月)见刊。投稿系统上显示依旧是初审状态,但是问了编辑这并不重要。后续文章修改基本是格式调整比较多,内容修改较少,也没有返回给我具体的专家意见。一次较为顺利的投稿经验,供各位学友参考。
XYZ007
在 2024/3/4 15:12:31 进行点评我要回应
- 审稿时间:1个月
- 我的职称:尚无
- 我的学历:在读博士
- 是否录用:
- 有无课题:无
- 发表排期:其他
投稿主题:知识产权
我的点评:系统投稿1个半月后系统提示“录用”,同时收到邮件加编辑老师微信。审稿较快,良心期刊。