等风来
在 2024/7/24 12:13:35 进行点评 我要回应
- 审稿时间:1个月
- 稿件字数:6500字
- 版面费:3500元
- 我的职称:尚无
- 我的学历:博士
- 是否录用:修改后录用
- 查重要求:10%以下
- 有无课题:无
- 有无回复:有自动回复
- 投稿难度:中等
- 见刊周期:12个月
投稿主题:建筑设计
点评配图:
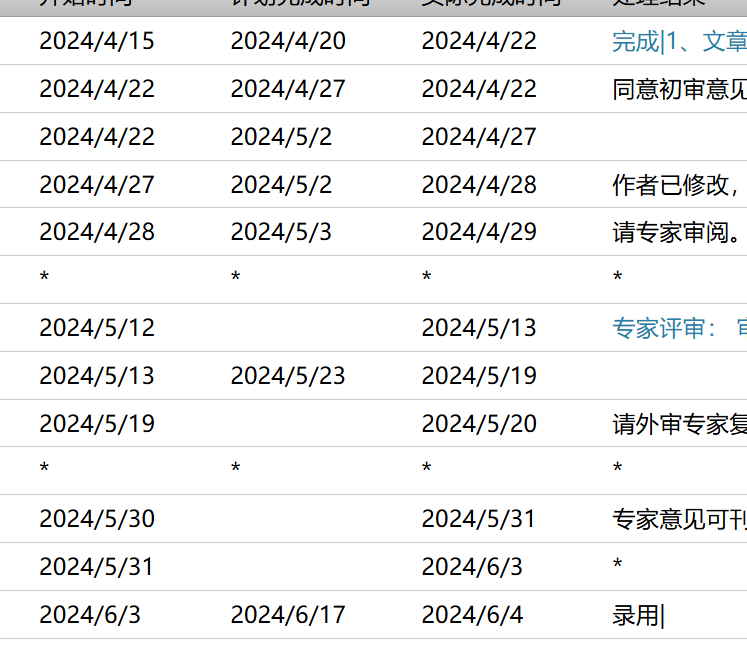
我的点评:之前投过一篇,由于外审时间太长就放弃了。这次比之前效率高很多,从投稿到修改到录用只用了一个半月。评审专家给的建议很有帮助,感谢!
AcaTailor
在 2024/7/17 22:09:58 进行点评 我要回应
- 审稿时间:2个月
- 稿件字数:8000字
- 版面费:5000元
- 我的职称:
- 我的学历:在读硕士
- 是否录用:修改后录用
- 查重要求:10%以下
点评配图:
我的点评:很良心的期刊,初审复审都很快,专家给的意见也很详细,推荐投稿
momo
在 2024/6/27 22:23:37 进行点评 我要回应
- 审稿时间:无回复
- 稿件字数:7000字
- 稿费:4900元
- 我的职称:尚无
- 我的学历:在读本科
- 是否录用:修改后录用
- 有无课题:无
- 投稿难度:中等
- 见刊周期:12个月
- 该刊可发:在读硕士独作
投稿主题:遗产保护
我的点评:才投十几天,初审很快,已经发了录用通知,希望一切顺利。审搞+版面费一共4900,还是比较贵的。本科生无法一作,只能导师通讯作者名字放第一位。我们是写了14页A4,里面又有个很大的表格。具体多少一个版面也不知道,还没有看到排版。见刊一年,太慢了,都毕业了那时候。好像投的人比较多。望有所帮助。
Xsmith
在 2024/2/18 18:32:35 进行点评 我要回应
- 审稿时间:1个月
- 稿件字数:7500字
- 版面费:4900元
- 我的职称:尚无
- 我的学历:硕士
- 是否录用:直接录用
- 有无课题:无
- 有无回复:有自动回复
- 投稿难度:较易
- 见刊周期:9个月
- 该刊可发:在读硕士独作
投稿主题:建筑史论
点评配图:
我的点评:编辑、专家的处理都很有效率,编辑老师人也很好沟通,文章较好发表,版面费略贵,我自己看是有10个版面,让我交4900。但期刊相对比较正规,综合考虑之下还是交了版面费让发表。另外期刊还有网络首发,挺不错的。
东隶
于 2024/5/11 21:58:04 回应:
请问是多少钱一个版啊,怎么受版面费的
投稿的憨憨
在 2024/2/7 12:35:51 进行点评 我要回应
- 审稿时间:15天
- 版面费:5600元
- 我的职称:讲师
- 我的学历:硕士
- 是否录用:修改后录用
- 查重要求:10%以下
- 有无课题:省部级
- 投稿难度:较易
- 见刊周期:8个月
点评配图:
我的点评:整体审稿速度还行,但是版面费太贵了
youyoutata
在 2023/7/17 8:46:19 进行点评 我要回应
- 审稿时间:4个月
- 审稿费用:4200元
- 我的职称:工程师
- 我的学历:
- 是否录用:修改后录用
- 查重要求:10%以下
- 有无课题:无
- 投稿难度:较难
- 见刊周期:6个月
投稿主题:城市设计
点评配图:
我的点评:专家意见很详细中肯,编辑人也很好,按照意见修改觉得学到很多,审稿时间太久发站内信催促很快就有回应,除了审稿时间稍长了些,都很棒,首次投稿体验很不错,排在年末见刊,非常推荐
发核心发核心!
在 2023/3/24 14:36:00 进行点评 我要回应
- 审稿时间:3个月
- 版面费:1800元
- 我的职称:
- 我的学历:在读本科
- 是否录用:修改后录用
- 有无课题:国家级
- 投稿难度:较易
- 见刊周期:6个月
投稿主题:公园城市
我的点评:当时还是在读本科,投过去大概是两个月给了审稿意见,修改后录用了,但要求要引用同城市的某期刊的文献两篇,总的来说还是比较友好的。
发发发
在 2023/2/2 9:01:14 进行点评 我要回应
- 审稿时间:3个月
- 稿件字数:8000字
- 我的职称:
- 我的学历:在读硕士
- 是否录用:修改后录用
- 有无课题:省部级
- 投稿难度:中等
- 见刊周期:2个月
投稿主题:古建筑美学
我的点评:期刊不错,价值挺高,对于硕士来说正常投稿被录用就说明文章还可以,不是水刊那种给钱就能发的期刊,前后外审比较慢,可以打电话催促一下,编辑人很好修改也很仔细,建议硕士毕业并对自己文章有信心或者想要独作发表文章以后更上一层的人发。总体推荐,录用后版面费也还可以接受授。课题不一定需要,我的文章是录用后我才让加的课题。
等风来
在 2023/1/17 16:15:39 进行点评 我要回应
- 审稿时间:3个月
- 稿件字数:6000字
- 我的职称:
- 我的学历:博士
- 是否录用:尚无回复
- 查重要求:10%以下
- 有无课题:无
- 有无回复:无自动回复
投稿主题:建筑设计
点评配图:
我的点评:去年9月投稿,起初节奏挺快。到了外审就慢了下来,用了将近一个月才有反馈。就几条小意见,很快修改好上传。结果两个月都没结束,打电话催也没效果,真是无语了。好在没有死等,11月投了另一家核心期刊,这月初收到录用通知。感谢不录之恩
好好吃的羊
在 2022/9/6 16:54:00 进行点评 我要回应
- 审稿时间:1个月
- 稿件字数:5300字
- 版面费:2400元
- 我的职称:尚无
- 我的学历:在读硕士
- 是否录用:修改后录用
- 查重要求:10%以下
- 有无课题:无
- 有无回复:有自动回复
- 投稿难度:较易
- 见刊周期:2个月
投稿主题:城市设计
点评配图:
我的点评:不知道是不是因为暑假投的原因,整个审稿周期还比较快,初审与复审审核很快,中间让改了一次格式。专家外审较久,流程为“编辑部处理中”(时间15天)、“专家评审”(时间2天)、“专家审回”(时间2天),然后让修改了一次,照着修改即可刊发。唯一的一个bug就是,在修改文件上传时,文档不能超过5m,只能将图片进行压缩上传,但画质很低看不清,所以我转成了pdf上传,为此周转了一会,总体来说,沟通还挺顺利的,专家点评意见也很中肯~我的审稿费和版面费一共2400元。