syxys
在 2022/9/19 9:30:04 进行点评我要回应
- 审稿时间:无回复
- 我的职称:
- 我的学历:在读硕士
- 是否录用:尚无回复
投稿主题:区域经济
我的点评:文章一直处于一审已审回是怎么回事,我的备注里边有个:知网12.6%难道是因为查重率太高准备着给我退回来???
搞科研真是造孽啊
在 2022/8/15 12:55:45 进行点评我要回应
- 审稿时间:15天
- 每版费用:40000元
- 我的职称:
- 我的学历:
- 是否录用:直接录用
我的点评:该刊有个名为“彩页图片”的栏目,都是一些只有1页的“文章”,看起来像书评,比如2022第13期就有20篇左右,但没搞懂为什么书评栏目叫“彩色图片”。 另外,有朋友说是中介推荐他发这个刊物,我觉得他是骗人的,就1页,怎么可能要4w多? 一个4w,一期15篇,一年24期,一年上千w!!!顶一个小企业的营业额? 不可能,绝对不可能。 没有人这么傻,花4w发个千字学术论文。 也没有哪个C刊敢这么干。 我不相信,坚决不相信。我相信学者和期刊社的操守。

小麦老师
于 2022/8/15 15:23:30 回应:
这种1页的全是书评,文章质量都是东拼西凑滥竽充数,不具有任何学术价值.感觉基本都是靠中介运作敛财。类似的这种C刊北大核心还真是不少!!不知道如何举报彻查
无法举报,又没有发票,所以,没有证据是买卖,除非自己举报自己。
万维辣评姐
于 2022/8/15 17:01:49 回应:
举报?举报什么东西?举报杂志社收钱帮你发彩页?彩页说白了就是期刊刊登的广告,跟在报纸中缝上帮人家产品打广告一样,只要它有广告经营许可证,别说四万,收你四十万也合理合法。《中国教育学刊》也是类似的,全叫做广告,《中政参》也有,一样的。
还是你说的明白
这都是什么日子
在 2022/6/28 15:53:04 进行点评我要回应
- 审稿时间:2个月
- 我的职称:
- 我的学历:在读硕士
- 是否录用:直接录用
- 查重要求:10%以下
- 发表排期:6个月
投稿主题:知识产权管理
我的点评:今天刚录用,只能说真是最近最开心的事情!我投的知识产权管理板块,这个期刊我只想夸奖!全程透明,而且时间不拖沓!查重率必须低于10%才会给你送二审,然后参考文献格式最好先改好,不然后续会浪费时间的!而且期刊编辑态度也特别好,第一次是个广东的小姐姐吧,带着口音的普通话好好听,也好温柔回答我的问题,后面也是小姐姐态度也特别好,不像有的期刊编辑一副不耐烦的样子! 这篇文章花了挺长时间写的,改了很多很多稿才成了最终版,导师全程给我修改,一字一句都斟酌了给我改,非常感谢我的导师!如果方向符合,这个期刊还是很建议投的!
Peter
于 2022/7/6 18:53:10 回应:
想问一下,这个期刊的参考文献格式要求具体是啥啊,总感官网上的恨不透明啊
同学,请问你录用之后还会让你再对文章的最后版本进行确认吗
说点什么呢
于 2022/7/21 6:02:34 回应:
请问你自己用的什么查重软件呀?
小拉拉啊
于 2023/3/28 11:33:41 回应:
二审审回也10天了 一直没动静 请问楼上后期如何
Doctor Hooker
在 2022/5/31 11:29:51 进行点评我要回应
- 审稿时间:2个月
- 我的职称:
- 我的学历:
- 是否录用:拒稿
- 有无课题:省部级
我的点评:连着投稿三篇,每次都是最终审的时候被退稿。很奇葩的一个刊物
是的,我也是这样的。搞个一审、二审、返修、三审、退稿。这个刊物看来是这样子
时刻更新
在 2022/4/29 22:50:04 进行点评我要回应
- 审稿时间:15天
- 我的职称:
- 我的学历:
- 是否录用:拒稿
- 发表排期:其他
投稿主题:资源管理
我的点评:十天邮箱退稿,理由:不符合本刊的采用和退修要求,故退稿。请您登录我们的网站查询具体意见。 具体意见:因论文未达到我们优中选优的要求,版面有限,恕不能录用,请自行处理。 可能也都是官方标配退稿意见吧
学术界摸鱼
在 2022/4/26 20:23:42 进行点评我要回应
- 审稿时间:无回复
- 我的职称:尚无
- 我的学历:在读硕士
- 是否录用:修改后录用
- 查重要求:无查重
- 有无课题:省部级
- 有无回复:有自动回复
- 投稿难度:较易
- 发表排期:1个月
- 该刊可发:导师二作
我的点评:【转载请私信联系。未征得本人允许,请勿转载。】实在没什么合适的C刊好投,就投了这个科技管理研究,看着上面的文章质量还行吧。投稿系统投稿,过程就是“一审、二审、三审、决审”,据说一审审格式、二审审栏目、三审决审审质量,进了决审一般代表录用了。审稿期间只在一审改了一下参考文献格式,一个月后录用了,通知交版面费,大概四个月之内刊出。期刊编辑部挺好沟通的,就是版面费太贵。
花花花花花花
于 2022/5/19 12:55:56 回应:
可以看一下你的流程截图吗谢谢
学术界摸鱼
于 2022/5/19 14:41:12 回应:
版面费一个版面500的样子。流程截图现在po不上这个点评了。
同学,请问你录用之后还会让你再对文章的最后版本进行确认吗

在 2022/4/12 17:04:25 进行点评我要回应
- 审稿时间:2个月
- 我的职称:
- 我的学历:在读博士
- 是否录用:拒稿
- 有无课题:国家级
投稿主题:数字化转型
点评配图:
我的点评:三审拒稿,C扩也这么拽了哦。三审审回一直不动,幸好及时打电话问了,否则还不知道几天才显示。
sina1024
在 2022/3/27 22:31:32 进行点评我要回应
- 审稿时间:2个月
- 稿件字数:13500字
- 每版费用:6000元
- 我的职称:副高
- 我的学历:博士
- 是否录用:修改后录用
- 查重要求:10%以下
- 有无课题:国家级
- 有无回复:有自动回复
- 投稿难度:中等
- 发表排期:5个月
- 该刊可发:导师二作
投稿主题:开放式创新
点评配图:
我的点评:以前几次投稿都是在终审环节折戟沉沙,这一次似乎编辑部流程有点变化:没有了终审阶段,取而代之的是三审。在经过两次的一审后,大概率都会通过并且返修,通常要求作者对格式进行修改、补充作者信息等。在作者修回后进入二审,基本上也不会提出修改意见,大概率通过进入三审(即以前的终审环节)。在三审环节才是真正的考验,只有在通过三审,或者在三审收到返修意见后,稿件才会进入决审阶段。如果通过三审或者三审返修,决审似乎机会就比较大了。在本稿件审稿过程的三审过程中,通讯作者收到了编辑部联系修改论文的短信。主编很和蔼,直接指出了三审中修改意见,就论文如何修改进行了指导。三审后续的进度就非常快了,很快就收到了录用通知。论文大约13000字(不计空格),而且表格和图也比较多,所以版面费有点高(其实相对于我的版面而言,还可以接受吧)。 这个杂志的优势在于审稿还是比较快的,我的稿件前后1.5月,正常情况2个月内也会有结果,比较良心了。相比于另外一篇稿件,审稿4-5个月,修改3轮,结果在终审环节被毙,这个就很不错了。
tutugg
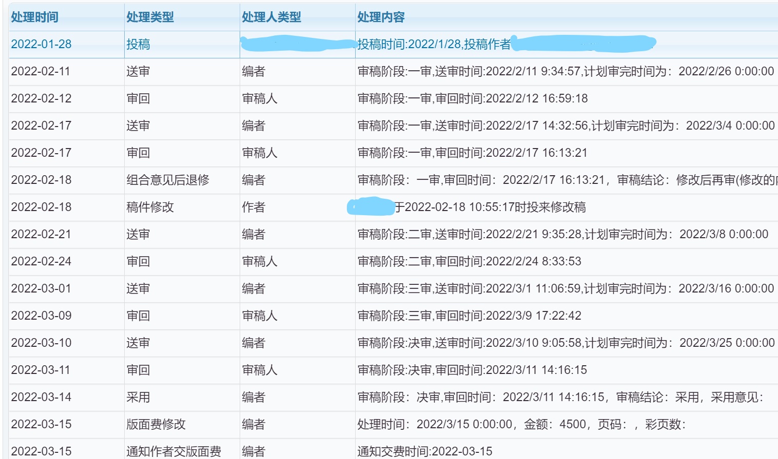
在 2022/3/21 9:43:03 进行点评我要回应
- 审稿时间:2个月
- 稿件字数:10000字
- 每版费用:4500元
- 我的职称:
- 我的学历:硕士
- 是否录用:直接录用
- 查重要求:5%以下
- 有无课题:市厅级
- 有无回复:有自动回复
- 投稿难度:中等
- 发表排期:6个月
投稿主题:大学科技创新管理
点评配图:
我的点评:第二次投这个期刊,第一次终审被拒了,这次直接录取。给大家分享一下投稿流程,整体来说审稿速度较快的,就是这个期刊一审和二审好像主要是格式方面的审核,一般也都能通过,到三审会审内容,如果通过了进入决审基本上就没有问题了。因为第一次投稿时就知道了这个期刊要先符合格式要求才能往下进行,所以这次完全按要求的格式去投稿的,整个过程只在一审退修过参考文献的格式,节省了不少时间。录用后很快就通知出版时间了,录用后4个月左右就能出版,出版速度较快,版面费略贵,1万字加四个表4500,有问题编辑部联系反应都很及时。
hiram
在 2022/3/20 23:32:22 进行点评我要回应
- 审稿时间:至今2个月
- 稿件字数:14000字
- 每版费用:5500元
- 我的职称:尚无
- 我的学历:在读硕士
- 是否录用:直接录用
- 查重要求:10%以下
- 有无课题:省部级
- 有无回复:有自动回复
- 投稿难度:中等
- 发表排期:4个月
- 该刊可发:导师二作
投稿主题:数字化发展
点评配图:
我的点评:第一次投这期刊,总体感觉还不错,期间联系修改过一次,三审能审回意见问题就不大了。但是版面费有些贵了感觉,不知道是不是我字写太多,占用太多版面了...有没有同志分享下你们的版面费多少呀,学校不给报版面费了,自己出肉疼。。。
hiram
于 2022/3/21 9:25:38 回应:
学校现在不让课题报版面费了...难受
这个刊一般都得四五千,就是比较贵的。不过你们学校这个规定也太奇葩了。。课题费不能报版面还是第一次听说,,
ljw
于 2022/12/31 17:51:27 回应:
请问编辑部发短信联系之后是什么流程呀,我也收到短信了。
qyy
于 2023/10/11 10:35:53 回应:
必须导师二作吗?自己投不能成功吗?