hxqk110
在 2022/2/21 22:17:01 进行点评我要回应
- 审稿时间:1个月
- 稿件字数:15000字
- 我的职称:
- 我的学历:在读博士
- 是否录用:尚无回复
投稿主题:科技法学
我的点评:请问下大家有遇到过三审吗?
我的1月4号投稿,2月17日送三审,现在还没有消息
之前都没有三审,不知道这个三审是啥审。我也暂时没消息
hiram
于 2022/2/25 15:52:35 回应:
今天通讯作者收到了该期刊的短信,说尽快联系讨论论文,是什么意思,希望大吗,为啥不是邮箱联系...会不会是骗子....
感觉三审等同于之前的终审,终审若是能退修,或者能直接进入决审,那被录用的概率还是很大的。前几天我的三审退修返回后,很快就是再次三审、决审,从返修到录用不到10天。审稿过程透明且有效率,赞一个。
我想请问下三审回来了,没有同时退稿。是不是基本上录用就稳了?
hiram
于 2022/3/10 10:51:58 回应:
今天进入決审了,应该不会最后被拒稿吧...
我也是进入三审,请问大家三审之后还有进入终审的环节么?
我三审已经审回一周多了,还是没有下一步,也不知道是退稿还是什么意思,一直没动静了
我已经三审审回一周多,还没有后续,请问是什么情况,这是要被退稿吗
hiram
于 2022/3/12 19:52:37 回应:
感觉是不是很多人都进決审了啊,那是不是意味着決审也容易拒掉...大家是进入三审了,还是三审后进入決审了??
我的收到录用了,一审做了点格式修改,后面就二审、三审然后直接进入决审,过几天显示采用了,中间没有退修过,一度以为会被拒稿。看来一般过了三审应该就问题不大了
hiram
于 2022/3/15 10:01:13 回应:
我刚刚也收到录用了,还一直担心最后还被拒稿,终于放心了。
请问下,进入三审阶段之后,要等多久才能进入决审呀?谢谢
小小滑稽君
于 2022/3/16 10:56:20 回应:
是的 我的也是三审到现在也没有动 明天就到截止日期了 打电话也打不通 邮箱不回
hiram
于 2022/3/16 13:04:05 回应:
问下大家,录用的版面费多少?我5000+,交不起呀,乍办。。。
gardenia
在 2021/11/22 18:08:34 进行点评我要回应
- 审稿时间:无回复
- 我的职称:
- 我的学历:在读硕士
- 是否录用:拒稿
- 有无课题:国家级
点评配图:
我的点评:确实像有些人说的,终审拒稿,等了一个多月,也没有啥退稿意见。
论文成瘾无法自拔
在 2021/10/20 19:51:17 进行点评我要回应
- 审稿时间:2个月
- 稿件字数:10000字
- 我的职称:副高工程师
- 我的学历:本科
- 是否录用:直接录用
- 查重要求:5%以下
- 有无课题:无课题
- 有无回复:有自动回复
- 投稿难度:较难
- 发表排期:6个月
- 该刊可发:偏博副高及以上
投稿主题:数字化转型
点评配图:
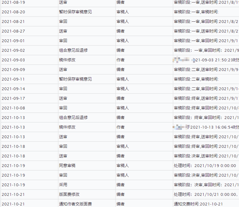
我的点评:本人工程狗一枚,小本,高工,第一次投管理论文中了,开心那是必须的,分享也是必须的。 在工程管理领域看到《科技管理研究》的一篇论文,又把期刊中类似的所有论文都研读了一遍,然后结合工作实践写了一篇不同行业的理论研究、方法论与实证分析相结合的论文,10000字。8月18日投稿,10月19日采用,还在等待排刊中,审稿流程图贴最后面。在万维网学习到了很多经验,所以也分享下经验,希望能让大家少走点弯路。 一、能采用的原因分析 1.紧跟热点,同时与科技管理研究已发表文献对比、结合分析,专门为投这个期刊而写; 2.创新性有一些,但不算特别高,但是文章可取的地方是一套从工作总结中的理论、分析方法与工具、计算公式等在其他行业和企业中均可套用,创新与实用总算占了一头; 3.投稿前检查了好多遍,并且邀请3人以上帮忙审稿,稿子质量个人感觉不错,投稿特别真诚; 4.参考文献中,列出了好几篇该期刊文献,实实在在的用上并且有新的延伸,当然这个权重相对前3条偏低。 二、过程中走的弯路 1.由于以前投的基本都是工程类期刊,所以对管理类刊物的理解不够透彻,又没仔细看投稿须知,出现了一些低级的错误:如 1.1111应该写成1.111 1,图片彩色,两个作者简介不全等细节问题。退修1次,耽误半个月时间; 2.参考文献的格式,这个是退修常见的问题,要用[1] [2] [3]自动编号。 三、经验分享 1.相似度这个可以不理会,我的论文相似度最高61%,但是万网查重是2%; 2.投稿的时候认真对照要求和格式,可以节省很多时间; 3.论文质量最重要,职称、学历、基金项目我觉得都靠后的,我的论文就没有基金,但是建议还是能加基金的加上; 4.如果有主编联系你,那么恭喜你,按照沟通要求修改,基本离中不远了,主编特别好说话,感恩; 5.没有必要中途联系期刊编辑,没必要每天刷投稿系统,有那时间不如再写一篇,其他的就顺其自然吧。
请问您有收到催修邮件吗?能看下您的看下您的审稿流程吗?
才发现没贴上流程,现已经补贴上,另外我没有收到催修邮件。
艳艳子
于 2021/11/3 13:46:17 回应:
您好,想问下您有联系过科技管理研究期刊那边吗,电话一直打不通,您知道能怎么联系上编辑部吗
后续补充,1万字,公式图表都很多,占用版面较多,版面费5500。 8月投稿,10月录用,计划明年3月出版,从投稿到出版刚刚好半年。
2021年3月10日 第5期,按照原定计划时间已经见刊,1个月后知网可查。目前尚未收到纸刊、发票及稿费。
布布
于 2022/5/17 23:06:57 回应:
谢谢大哥
等纸刊等到5月份还是没有到,咨询了下,说是快递到哪哪了,是一个我没提供过的地址,去该地址查询没找到样刊。于是陈编辑又给我重新快递了几本,没要刊物费用,感恩。当前尚未收到稿费,是否是随原来的快递一起丢失,还是说会打到投稿后台我提供的银行账户,暂时未知。
2022年6月6日收到通过邮局寄出的200元稿费。
任仁
于 2022/6/24 12:43:53 回应:
你好,我的论文因为参考文献返修,可以请教一下吗?
可以去万方、百度等搜下,采用他们的文献格式,知网的文献引用格式不标准。
Jack
在 2021/8/23 11:25:14 进行点评我要回应
- 审稿时间:1个月
- 我的职称:
- 我的学历:在读博士
- 是否录用:拒稿
我的点评:该刊投稿后,一审让修改格式,然后就是二审和终审,历时一个多月还没消息,我就询问了编辑部,结果回复说“不符合本刊的采用和退修要求”。我这篇文章写的科技内容,和期刊的主题十分符合,结果却以这个理由退稿,为何不早退呢。总之,想退稿不需要理由,浪费投稿时间。
求核心
于 2021/8/24 23:15:50 回应:
请问你转投啥啦
请问一审或者审稿完成后编辑部给您发了催修邮件吗?我莫名其妙收到了
哥哥666
在 2021/8/12 8:01:59 进行点评我要回应
- 审稿时间:无回复
- 我的职称:
- 我的学历:
- 是否录用:直接录用
我的点评:终审退稿,历时一个多月,貌似终审退的多
SKZYZ
在 2021/8/3 12:02:01 进行点评我要回应
- 审稿时间:3个月
- 我的职称:
- 我的学历:在读博士
- 是否录用:拒稿
- 有无课题:国家级
我的点评:除非有渠道或者实在没有别的期刊可尝试,否则非常不建议试这个期刊。除了所有人都说的终审甚至决审才大批量退稿问题,这个期刊也喜欢在每一轮审稿上拖时间(可能和具体负责的编辑有关)。比如,某一轮审稿预计9.10日完成,但专家8.25就已经提交了审稿意见,绝大多数情况下,稿件依然会在9.10号之后的两三天才继续下一步。预计的完成时间没到,它是坚决不给你走下一个流程的。当然我也见过一个月录用一路绿灯不用等的,可惜人家导师认识主编。
neoma
于 2021/8/3 19:36:26 回应:
您好,请问你什么时候终审完成的,我终审完成后一直就没音信了
袭予
在 2021/7/26 0:25:18 进行点评我要回应
- 审稿时间:无回复
- 我的职称:
- 我的学历:在读硕士
- 是否录用:拒稿
我的点评:请问一审当天审回,没有暂时保存意见,然后被退稿是因为啥啊。还有这个期刊投稿时候有很多相似文献且比例都在百分之二三十是正常的吗?已经查重也就不到10%啊
一只小麻雀
在 2021/7/19 16:19:53 进行点评我要回应
- 审稿时间:1个月
- 每版费用:4000元
- 我的职称:
- 我的学历:在读博士
- 是否录用:直接录用
- 有无课题:国家级
- 发表排期:9个月
- 该刊可发:导师一作
我的点评:迟来的点评,去年暑假投稿的,差不多一个月审稿期就中了,系统投稿和修改,也很方便,就是见刊有点慢。博士小白的第一篇C扩,也很满意啦
paplar
在 2021/6/25 14:54:01 进行点评我要回应
- 审稿时间:2个月
- 我的职称:
- 我的学历:
- 是否录用:直接录用
- 发表排期:尚无出版
点评配图:
我的点评:审稿两个月的时间,中间退修一次参考文献和数字格式,终审拒稿,未给出审稿意见,浪费时间。
努力发表
在 2021/6/4 14:51:19 进行点评我要回应
- 审稿时间:1个月
- 我的职称:
- 我的学历:
- 是否录用:直接录用
投稿主题:网络平台管理
点评配图:
我的点评:一个月中间有三审,中间退修一次,最终退稿。理由是一贯的不符合优中选优。有三个师兄师姐也是重复这种过程
煎饼果子
于 2021/6/4 16:11:07 回应:
应该是文章质量过关,外审通过,但是被主编退稿了,可能运气不太好吧